合作客戶/
拜耳公司 |
同濟大學 |
聯合大學 |
美國保潔 |
美國強生 |
瑞士羅氏 |
相關新聞Info
-
> 新無氰白銅錫電鍍液及電鍍方法可降低表面張力,促進鍍液對復雜工件的潤濕
> 5μL樣品測表面張力?超微量天平如何破解納米材料研發困局
> 表面張力的意義,醇類在不同溫度下的表面張力測定數據
> W/O型Pickering乳液油水間的界面張力對乳液穩定性的影響
> 全氟庚烷端基聚丙烯酸(FPAA)合成方法及水溶液表面張力測定
> 氟碳-碳氫表面活性劑復配體系表面張力變化規律與影響因素
> 拉筒法和靜滴法測定連鑄結晶器保護渣表面張力(一)
> 深過冷Ni-15%Sn合金熔體表面張力的實驗研究與應用前景
> 嵌段比例對溫敏聚合物表面張力的影響及臨界膠束濃度分析(四)
> 新型均相微乳液型助排劑AO-4表/界面張力測定及室內評價——摘要、實驗部分
推薦新聞Info
-
> 界面張力主導:殘余氣飽和度的深部咸水層CO2封存潛力評估(三)
> 界面張力主導:殘余氣飽和度的深部咸水層CO2封存潛力評估(二)
> 界面張力主導:殘余氣飽和度的深部咸水層CO2封存潛力評估(一)
> 兩類農用防霧涂層表面張力的深度計算與比較分析(二)
> 兩類農用防霧涂層表面張力的深度計算與比較分析(一)
> 藥液表面張力、噴霧方法對霧滴在水稻植株上沉積的影響(三)
> 藥液表面張力、噴霧方法對霧滴在水稻植株上沉積的影響(二)
> 藥液表面張力、噴霧方法對霧滴在水稻植株上沉積的影響(一)
> 烷基二苯醚/烷基苯混合磺酸鹽靜態表面張力、金屬腐蝕性及凈洗力測定(二)
> 烷基二苯醚/烷基苯混合磺酸鹽靜態表面張力、金屬腐蝕性及凈洗力測定(一)
便于調節的表面張力儀結構組成及原理
來源:江門市優彼思化學技術有限公司 瀏覽 1181 次 發布時間:2024-04-22
表面張力儀快速、可靠的質量控制模式,設定測量參數后可以準確測量并顯示表面張力值,能夠獨立設定測量范圍、測試數據數目、測量的平均值,是研發的理想工具。
現有的表面張力儀包括殼體、工作臺和標準板,殼體內設置有工作腔,殼體上設置有玻璃門,工作臺設置于工作腔內,且工作臺上放置有盛液盒,標準板通過連接繩連接于工作腔頂部,標準板設置于盛液盒上方;表面張力儀通常采用吊環法來測定純液體表面的張力,其基本原理是將浸在液面上的標準板脫離液面,其所需的最大拉力,等于標準板自身重量加上表面張力與被脫離液面周長的乘積。
針對上述相關技術,發明人認為表面張力儀在使用前需要進行調平操作,因為是利用重力原理進行表面張力的測定,若放置表面張力儀的操作臺存在細微傾斜,會影響表面張力儀的測量結果,導致測量數據出現偏差。
便于調節的表面張力儀結構組成
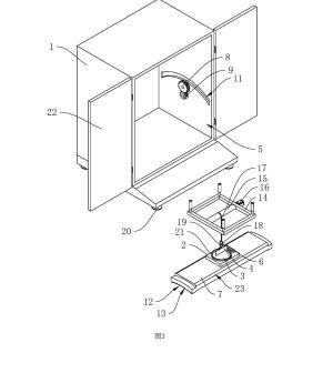
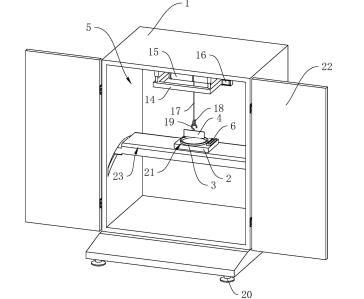
參照圖1,包括殼體1、工作臺2、盛液盒3和標準板4,殼體1內設置有工作腔5,殼體1底部設置有多個支撐腳20,在本申請實施例中,支撐腳20設置為四個,四個支撐腳20設置于殼體1的四角位置;殼體1上鉸接有兩轉動門22;工作臺2設置于工作腔5內,工作臺2上開設有與盛液盒3適配的放置槽21,盛液盒3可放置于放置槽21中,標準板4設置于盛液盒3上方,標準板4通過升降結構可升降連接于殼體1上,工作臺2上固定連接有水平儀6,在本申請實施例中水平儀6選用氣泡式水平儀,也可選擇其他體積較小的水平儀;工作臺2和殼體1之間設置有用于調平工作臺2的調平結構。
參照圖2和圖3,調平結構包括調節板7、齒輪一8、齒輪二9和用于驅動齒輪二9轉動的旋鈕10,調節板7轉動連接于殼體1內,殼體1上開設有供調節板7移動的滑槽11,調節板7的底面呈弧形凹面12設置且弧形凹面12上開設有齒槽13,調節板7頂面的兩側邊倒有倒角23;齒輪一8和齒槽13嚙合;齒輪一8和齒輪二9均轉動連接于殼體1上,齒輪一8和齒輪二9嚙合,齒輪二9的齒數小于齒輪一8的齒數,從而達到一個減速的作用,旋鈕10設置于殼體1外。
在對操作臺進行調平時,工作人員旋轉旋鈕10,驅動齒輪二9轉動,齒輪一8隨之轉動,調節板7隨齒輪一8轉動,工作人員可以一邊調節旋鈕10一邊觀測水平儀6,在本申請實施例中選用氣泡式水平儀6,當氣泡位于水平儀6的中間時,說明工作臺2處于水平狀態,停止轉動旋鈕10即完成工作臺2的調平;人工驅動使得工作人員可以一邊觀測水平儀6一邊調節調節板7。
參照圖3,升降結構包括升降架14、卷輥15和用于驅動卷輥15的電機16,升降架14固定連接于殼體1的頂面上,卷輥15轉動連接于升降架14上,電機16固定連接于升降架14上,連接繩17的一端固定連于所述卷輥15上,連接繩17的另一端固定連接有吊環18,標準板4上固定連接有掛鉤19,掛鉤19可掛接于吊環18上。
在對待測液的液面進行張力測量時,電機16驅動卷輥15轉動使連接繩17脫離卷輥15,直至標準板4進入待測液內,然后電機16反向轉動收卷連接繩17,使標準板4脫離待測液,即完成對待測液的液面張力的測量;升降架14的設置便于調節待測液的液面和標準板4之間的距離;也可以通過調節連接繩17垂落的長度對待測液的液面和標準板4之間的距離進行調節,一般連接繩17的長度是固定的,為了便于控制標準板4的高度,因為采用機械驅動,若連接繩17過長可能出現連接繩17垂落的長度無法控制的情況,從而影響測量結果。
原理
在對操作臺進行調平時,工作人員旋轉旋鈕10,驅動齒輪二9轉動,齒輪一8隨之轉動,調節板7隨齒輪一8轉動,當水平儀6顯示操作臺處于水平狀態時,即將操作臺調平;然后啟動電機16,電機16驅動卷輥15轉動,使連接繩17脫離卷輥15,標準板4進入待測液中,然后電機16驅動卷輥15反向轉動,卷輥15收卷連接繩17,使標準板4脫離待測液的液面,即完成對待測液的液面張力的測量。





