合作客戶/
拜耳公司 |
同濟大學 |
聯合大學 |
美國保潔 |
美國強生 |
瑞士羅氏 |
相關新聞Info
-
> 塑料產品聚合物表面張力的本質與測量方法
> 低溫β-甘露聚糖酶提升低溫油藏壓裂液的破膠性能——摘要
> 新設計的拼接式固相萃取柱完美解決萃取柱出現空氣栓塞問題
> 桐油基衍生物鈉鹽的表面張力、CMC值測定、乳液穩定性、固化膜性能測試(三)
> 基于LB膜分析儀研究P507-N235體系萃取稀土過程的溶解行為規律
> 不同種類與濃度的無機鹽氯化物對麥胚脂肪酶油-水界面特性的影響(二)
> 防治劍麻介殼蟲病,推薦劑量下藥劑的表面張力值多少最佳
> 酸化壓裂用助排劑表面張力較低,可有效改善巖心的潤濕性
> 電化鋁燙金燙不上可能和膠粘劑的表面張力有關
> Layzer模型與Zufiria模型研究界面張力對Rayleigh-Taylor氣泡不穩定性的影響
推薦新聞Info
-
> 海藻糖脂:一種兼具優異發泡性能與皮膚溫和性的新型表面活性劑(二)
> 海藻糖脂:一種兼具優異發泡性能與皮膚溫和性的新型表面活性劑(一)
> 4種不同組分的混合溴化鹽表面張力σ-t經驗公式系數與相關性研究(三)
> 4種不同組分的混合溴化鹽表面張力σ-t經驗公式系數與相關性研究(二)
> 4種不同組分的混合溴化鹽表面張力σ-t經驗公式系數與相關性研究(一)
> PH、結構、電荷與溫度對膠原生物表面活性劑溶液性質的影響機制(二)
> PH、結構、電荷與溫度對膠原生物表面活性劑溶液性質的影響機制(一)
> 入網變壓器油界面張力不合格率檢測、原因分析及處理
> Ce含量對Mg-1.2Ca鎂合金阻燃性能及表面張力的影響研究(二)
> Ce含量對Mg-1.2Ca鎂合金阻燃性能及表面張力的影響研究(一)
液體分布器設計與表面張力有何關聯之處
來源:大連理工大學 瀏覽 1169 次 發布時間:2024-05-27
在液相反應或液相結晶過程中,液體的加入是重要的步驟。傳統滴加方式導致加樣點附近局部濃度遠高于主體濃度,在液相反應中,將使加樣點附近反應速率過高,容易導致副反應發生,在放熱反應中,容易導致局部溫度過高;在液相結晶過程中,局部濃度過高帶來極高的過飽和度,極易出現爆發成核,導致晶體產品粒度分散,形貌不佳。另外,在已經發表的關于攪拌裝置和加樣裝置的文獻或專利中,加樣多為直接滴加,且攪拌和加樣通常是獨立進行的,這種工作方式加樣位點與攪拌器高速旋轉點位不同步,攪拌效率低。
因此,需要開發一種新型加樣和液相混合方式,降低加樣點附近的局部濃度,以避免上述傳統加樣方式對液相反應或者結晶過程中的不利影響。
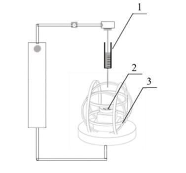
(1)液體分布器的設計:
液體分布器的主體結構為具有一定厚度的彎曲多角形;該彎曲多角形為旋轉對稱結構,含有2-8個角;液體分布器分為分散部和磁控部,分散部包含有液槽和流道;流道為傾斜流道,傾斜方向為分散部高度下降的方向,傾斜角度為1°-30°,流道分布在一個或多個角上;液槽為圓形,位于分散部中心,液槽底部與所有流道連通;磁控部位于分散部的底部內中心處的一個密封凹槽中,為密封凹槽中所裝填的磁性物質;
(2)液體分布器的制造:
通過3D打印分散部和磁控部,在凹槽中加入磁性物質后,再通過紫外光固化將分散部和磁控部結合為一體;
磁性物質為四氧化三鐵粉末、釹鐵硼粉末、二氧化鉻粉末中一種或兩種以上的混合物。
(3)進行液體分散:
1)在反應容器加入主體液相;
2)將液體分布器置于反應容器中,磁控部沉入主體液相中,分散部暴露在主體液相液面上方;
3)將反應容器轉移到三維磁場發生器的置物臺上;
4)在微量加樣器中加入待分散液體后,將微量加樣器懸于液體分布器對應的液槽上方;
5)開啟旋轉磁場,設定磁場強度,磁場頻率;
6)液體分布器穩定旋轉一段時間,在主體液相中形成穩定流場后,通過微量進樣器向液體分布器液槽內滴入待分散液體;
7)加入的帶分散液體在重力、離心力及表面張力的共同作用下通過與液體分布器連通的傾斜流道分散排出,進入主體液相,磁控部同時攪拌促進兩相的混合。
通過磁場驅動液體分布器旋轉,液槽中的液滴經由多個彎曲流道分散為多股,在旋轉線速度最大處連續進入主體相中,大大減小了直接滴加導致的局部高濃度;加樣位點與液體分布器的快速旋轉位點相同,直接高效率地消耗分散加樣點附近局部濃度,避免了直接滴加對液相反應或結晶過程的不利影響。同時,采用外部磁場控制使得器件轉速更高,可調性更強,可以強化待分散液體與主體相的混合。





